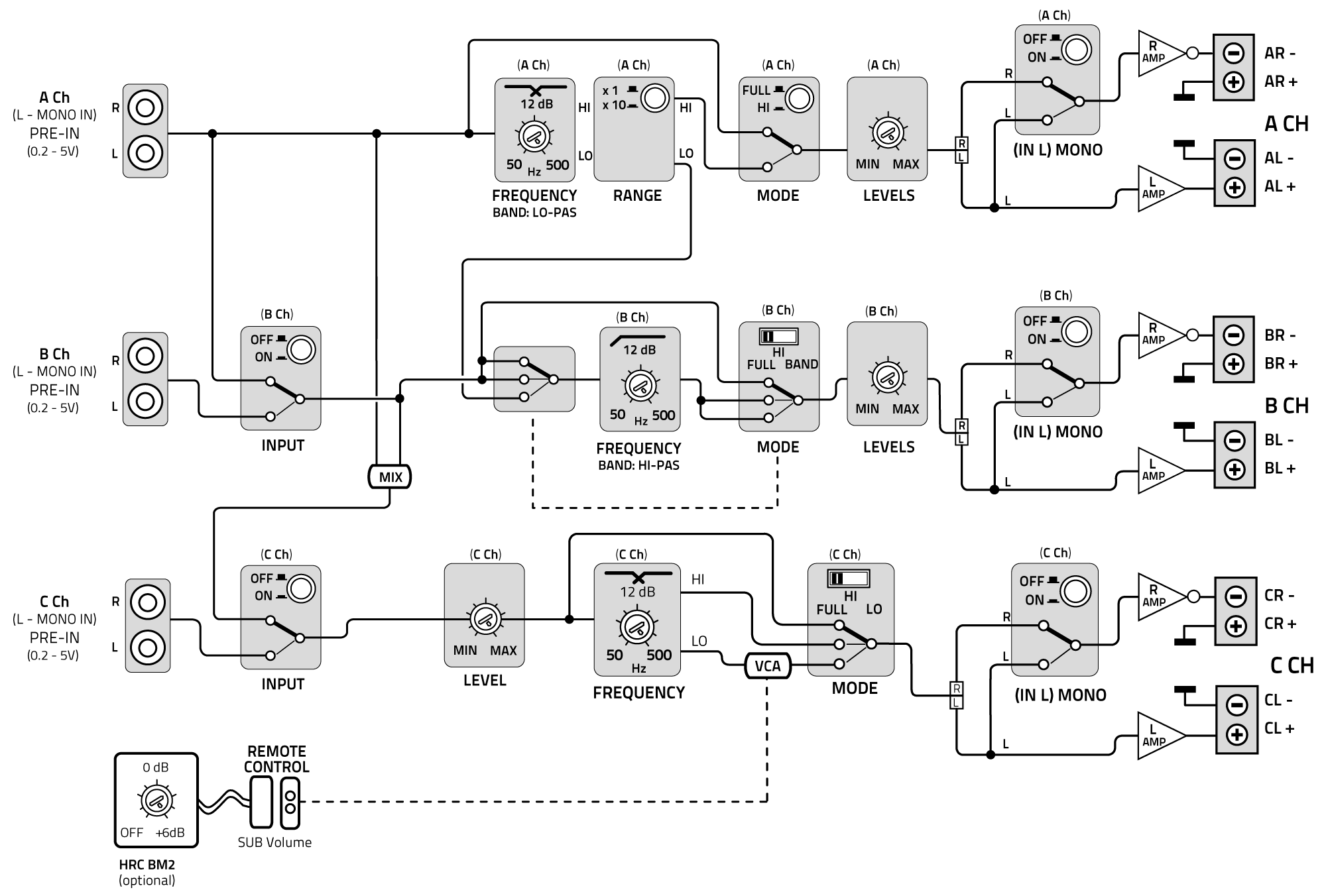
7. BLOCK DIAGRAMS Matteo Kalogris 23 March 2023 15:14 Updated ◼︎Venezia V6◼︎Venezia V6 24V Related articles 6. INSTALLATION EXAMPLES 4. INPUT / OUTPUT CONNECTION AND SUBWOOFER REMOTE VOLUME CONTROL 2. INSTALLATION AND SIZE 1. PACKAGING CONTENT 3. POWER SUPPLY AND PROTECTION