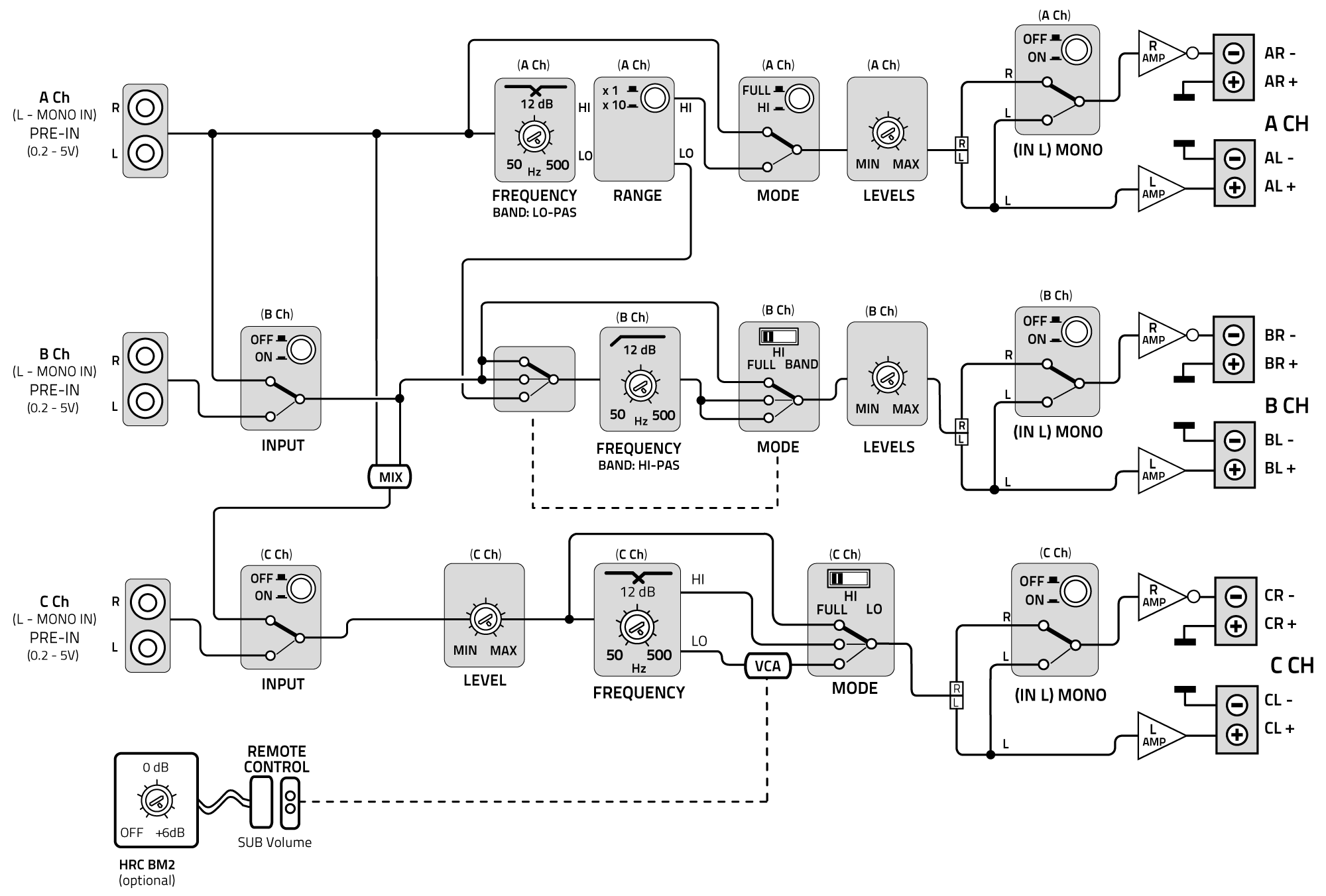
7. SCHEMA A BLOCCHI Matteo Kalogris 23 marzo 2023 15:14 Aggiornato ◼︎Venezia V6◼︎Venezia V6 24V Articoli correlati 6. ESEMPI DI INSTALLAZIONE 4. CONNESSIONI DI INGRESSO / USCITA E CONTROLLO REMOTO VOLUME SUBWOOFER 2. INSTALLAZIONE E MISURE 1. CONTENUTO DELL'IMBALLO 3. ALIMENTAZIONE E PROTEZIONE